Qingdao Ruichen Sealing Technology Co., Ltd.
Qingdao Ruichen Sealing Technology Co., Ltd.
Продукція
X

Сальники TC

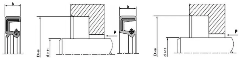
Манжети поворотного вала, широко відомі як сальники, встановлені в корпусі підшипника та рухаються відносно обертового вала. Металевий скелет забезпечує підтримку, а пружина застосовує радіальне попереднє натяг до кромки ущільнювача, щоб запобігти витоку мастила та проникненню зовнішніх забруднень.

Структура встановлення та вимоги

1. Матеріал валу: зазвичай використовуються вуглецева та нержавіюча сталь. Для високих швидкостей на поверхню наноситься хромування HRC40-45.

2. Конструкція обертового валу та канавок: поверхня валу має бути гладкою та без задирок. Сліди від спіральної обробки можуть створювати ефект накачування, що призводить до витоку. Рекомендується, щоб місце кріплення сальника було відшліфовано до шорсткості поверхні Ra0,1-0,5 мкм, що стає більш гладким із збільшенням швидкості. Для зручності встановлення та розбирання вал і пази повинні мати фаски або закруглені краї. Див. малюнки 1 і 2.

Висота ущільнення

b

b1(0,85xb)

мм

b2(b+0,3)

мм

r

макс.

7

5.95

7.3

0.5

8

6.80

8.3

0.5

10

8.50

10.3

0.5

12

10.30

12.3

0.7

15

12.75

15.3

0.7

20

17.00

20.3

0.7

Рисунок 1. Конструкція фаски канавки


d

d3

R

<10

д-1,5

2

10~20

д-2,0

2

20~30

д-2,5

3

30~40

д-3,0

3

40~50

д-3,5

4

50~70

д-4,0

4

70~95

д-4,5

5

95~130

д-5,5

6

130~240

д-7,0

8

240~500

д-11,0

12

500~800

д-14,0

14

800~1250

д-18,0

16

Рисунок 2 Конструкція фаски обертового вала


Фактори, що впливають на роботу манжетних ущільнень поворотного вала 

Існують десятки факторів, які впливають на ефект герметизації. Крім самого сальника, наприклад його матеріалу та структури, інші фактори, такі як середовище, температура, тиск, мастило, швидкість і шорсткість поверхні, також безпосередньо впливають на ефект ущільнення, і ці фактори часто взаємодіють один з одним. Наступні діаграми призначені лише для довідки користувача.

Рисунок 3. Вплив температури на сальник


Встановлення: ретельний монтаж є необхідною умовою належного функціонування сальників.

Схема монтажу (монтаж у порожнину)

Правильний спосіб установки

Застосовні умови праці

Неправильний спосіб установки

Цей метод застосовний лише тоді, коли торець масляного ущільнення та торець порожнини знаходяться на одному рівні. Коли пресове обладнання працює швидко, сальник повинен бути встановлений правильно; інакше може виникнути зміщення.

 

Ця конструкція підходить для ситуацій, коли торець масляного ущільнення нижчий за торець порожнини. Навіть при швидкому натисканні сальник все ще може бути добре встановлений. Однак цей тип пристосування не має радіального позиціонування, тому осьова перпендикулярність плоскої пластини пресувального пристрою та натискного валу повинна досягати певної точності.

Цей метод підходить для ситуацій, коли торець масляного ущільнення нижчий за торець порожнини. Під час швидкого запресовування обладнання дуже важливо переконатися, що сальник розміщено правильно; інакше може виникнути зміщення.


 

 


Цей метод придатний лише для технічного обслуговування або простих умов монтажу, коли обладнання, що працює під тиском, недоступне. Оскільки під час монтажу неможливо домогтися абсолютно рівномірного притискання, різні проблеми з монтажем неминучі. В першу чергу він призначений для запобігання радіального зміщення під час встановлення, яке може деформувати сальник, або для запобігання пошкодження гуми сполучної частини сальника (зовнішнього кола) через паузи під час встановлення. Тому цей метод встановлення зазвичай не рекомендується.

 

Сальники TC/SC/TB/SB

Обидва складаються з металевого каркаса, пружини та гумового корпусу. Металевий каркас забезпечує опору, а пружина застосовує радіальну силу до ущільнювальної кромки. Обидві моделі TC і TB мають пилонепроникну додаткову кромку, придатну для застосувань, де одна сторона містить герметизуюче середовище, а інша сторона містить пил. Моделі TB/SB мають металеве зовнішнє коло, що робить сальник більш надійним і точним усередині порожнини. Однак ущільнювальна здатність зовнішнього кола обмежена для малов'язких і газоподібних середовищ; тому під час монтажу та експлуатації рекомендується наносити герметик на зовнішнє коло.

Форма поперечного перерізу

Модель

застосування

Тиск

температура

швидкість

Середній

матеріал

TC

Герметизація, пилонепроникність

0,03 МПа

-30~+160

20 м/с

Мастило та мастило

NBR/FKM + вуглецева сталь

SC

Пломбування

туберкульоз

Герметизація, пилонепроникність

-30~+100

25 м/с

Вода, мастило, мастило

NBR + вуглецева сталь

SB

Пломбування

Замовити модель TC-d*D*b

Специфікація

Специфікація

Специфікація

Специфікація

Специфікація

Специфікація

Специфікація

ТС-6*17*3,5

ТС-9*25*7

ТС-10*30*7

ТС-12*25*10

ТС-13*25*7

ТС-14*32*8

ТС-15*30*7

ТС-7*18*7

ТС-10*18*7

ТС-11*22*7

ТС-12*26*7

ТС-13*26*7

ТС-14*32*10

ТС-15*30*8

ТС-8*18*7

ТС-10*19*7

TC-I1*25*7

ТС-12*28*7

ТС-13*28*7

ТС-14*35*7

ТС-15*30*10

ТС-8*20*7

ТС-10*20*5

ТС-11*30*10

ТС-12*28*8

ТС-13*30*8

ТС-14*35*8

ТС-15*32*7

ТС-8*22*7

ТС-10*20*7

ТС-12*19*3

ТС-12*30*7

ТС-14*24*7

ТС-14*40*7

ТС-15*32*10

ТС-8*22*8

ТС-10*22*5

ТС-12*20*7

ТС-12*30*10

ТС-14*25*7

ТС-15*22*8

ТС-15*35*7

ТС-8*25*7

ТС-10*22*7

ТС-12*21*7

ТС-12*32*7

ТС-14*26*7

ТС-15*24*7

ТС-15*35*8

ТС-8*25*8

ТС-10*22*8

ТС-12*22*5

ТС-12*32*10

ТС-14*27*7

ТС-15*25*5

ТС-15*35*10

ТС-8*30*7

ТС-10*22*10

ТС-12*22,5*5,5

ТС-12*35*7

ТС-14*28*7

ТС-15*25*7

ТС-15*38*7

ТС-9*16*5

ТС-10*24*7

ТС-12*22*7

ТС-12*35*10

ТС-14*28*8

ТС-15*25*8

ТС-15*38*8

ТС-9*18*7

ТС-10*25*5

ТС-12*22*8

ТС-12,7*22,22*5

ТС-14*28*10

ТС-15*26*7

ТС-15*38*10

ТС-9*19*7

ТС-10*25*7

ТС-12*24*6

ТС-12,7*25,4*7

ТС-14*29*7

ТС-15*27*7

ТС-15*40*8

ТС-9*20*7

ТС-10*25*10

ТС-12*24*7

ТС-12,7*26*8

ТС-14*30*7

ТС-15*27*8

ТС-15*40*10

ТС-9*22*7

ТС-10*26*7

ТС-12*25*7

ТС-12,7*30*8

ТС-14*30*10

ТС-15*28*7

ТС-15*42*7

ТС-9*24*7

ТС-10*28*7

ТС-12*25*8

ТС-13*23*7

ТС-14*32*7

ТС-15*28*10

ТС-15*42*8

 




Гарячі теги: Сальники TC
Надіслати запит
Контактна інформація
Отримайте конкурентні ціни, технічну підтримку та швидкі відповіді. Надішліть свої технічні характеристики на Ruichen для індивідуальних ущільнювальних рішень. Безкоштовні зразки.
X
Ми використовуємо файли cookie, щоб запропонувати вам кращий досвід перегляду, аналізувати трафік сайту та персоналізувати вміст. Використовуючи цей сайт, ви погоджуєтеся на використання файлів cookie. Політика конфіденційності
Відхиляти прийняти