Qingdao Ruichen Sealing Technology Co., Ltd.
Qingdao Ruichen Sealing Technology Co., Ltd.
Продукція
X

Кільце склоочисника

Комбінований пиловий ущільнювач із подвійною кромкою, розроблений компанією Ruichen Seal (відомим виробником і постачальником ущільнювачів поршневих штоків у Китаї), складається з ущільнювального кільця з PTFE та ущільнювального кільця. Він має двосторонній захист від пилу та функції автоматичної компенсації зносу, низький коефіцієнт тертя, тривалий термін служби та високу адаптивність, і широко використовується в різних промислових сценаріях руху, таких як зворотно-поступальний, коливальний та спіральний.

Продуктивність і програми

Двостороннє комбіноване склоочисне ущільнення — це двонаправлене склоочисне ущільнення, яке складається з заповненого PTFE кільця склоочисника з двома кромками та ущільнювального кільця. Ущільнювальне кільце забезпечує попереднє натяг, компенсуючи знос кільця з PTFE. Він підходить для зворотно-поступальних, коливальних або спіральних рухів.


Умови експлуатації

Тиск МПа

Температура °C

Швидкість м/с

Середній

-

-35~+100 (відповідає ущільнювальному кільцю NBR)

6

Гідравлічне масло, емульсія, вода тощо.

-20~+200 (відповідне ущільнювальне кільце FKM)


Приклад замовлення

Модель замовлення RCF02-80-PTFE3-R01

RCF02 - Модель 80 - Діаметр валу PTFE3 - Модифікований PTFE загального призначення RO1 - Відповідний код гумового матеріалу

Нітрил (NBR) - R01, фторвуглець (FKM) - RO2

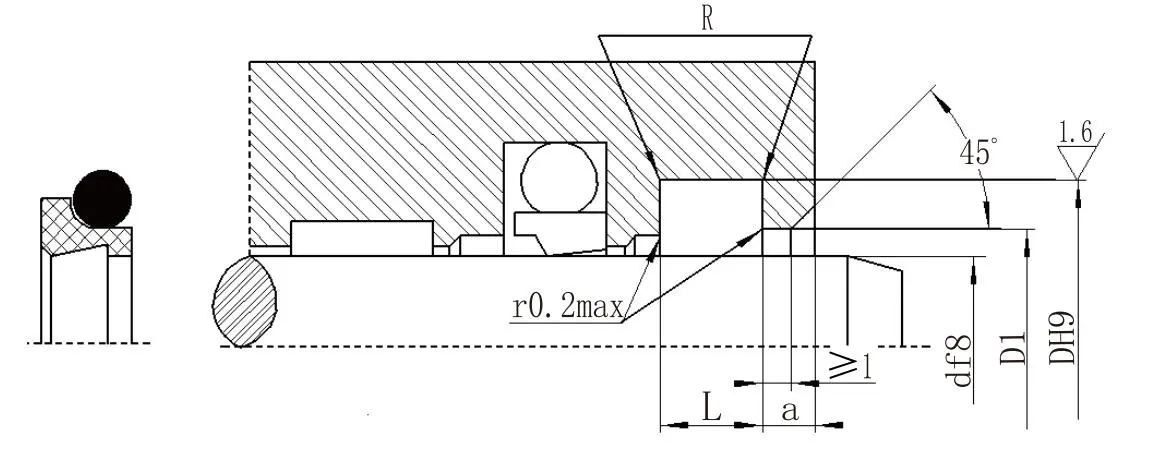
Таблиця параметрів специфікації (можуть надаватися вироби будь-якого розміру в діапазоні параметрів)

Діапазон діаметрів валу d f8

Діаметр канавки D H9

Ширина канавки Л+0.2

Діаметр відкритого отвору

D1H11

Ширина відкритого отвору a≥

Заокруглені кути R≤

Діаметр дроту ущільнювального кільця

d0

4~11

d+4,8

3.7

d+1,5

2

0.4

1.80

12~64

d+6,8

5.0

d+1,5

2

0.7

2.65

65~250

d+8,8

6.0

d+1,5

3

1.0

3.55

251~420

d+12,2

8.4

d+2,0

4

1.5

5.30

421~650

d+16,0

11.0

d+2,0

4

1.5

7.00

651~1500

d+20,0

14.0

d+2,5

5

2.0

8.60


Гарячі теги: Кільце склоочисника
Надіслати запит
Контактна інформація
Отримайте конкурентні ціни, технічну підтримку та швидкі відповіді. Надішліть свої технічні характеристики на Ruichen для індивідуальних ущільнювальних рішень. Безкоштовні зразки.
X
Ми використовуємо файли cookie, щоб запропонувати вам кращий досвід перегляду, аналізувати трафік сайту та персоналізувати вміст. Використовуючи цей сайт, ви погоджуєтеся на використання файлів cookie. Політика конфіденційності
Відхиляти прийняти