Qingdao Ruichen Sealing Technology Co., Ltd.
Qingdao Ruichen Sealing Technology Co., Ltd.
Продукція
X

Преміальна U-подібна манжета одноразової дії

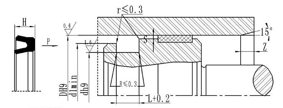
Преміум U-образне манжетне ущільнення односторонньої дії Ruichen Seals використовує високоефективний поліуретан (PU) і асиметричний структурний дизайн. Відповідає міжнародним стандартам канавок ISO5597, він був розроблений для одностороннього ущільнення в поршнево-поступальних гідравлічних системах. Він забезпечує чудову герметизацію, зносостійкість і здатність запобігати екструзії, що робить його придатним для будівельних машин, сільськогосподарського обладнання та промислових гідравлічних систем.

Преміум U-образне манжетне ущільнення односторонньої дії – це асиметричне ущільнення, призначене для використання на поршнях. Він підходить для одностороннього ущільнення в гідравлічному зворотно-поступальному русі та забезпечує чудову ефективність ущільнення. Канавка відповідає стандартам ISO5597.


Застосовні умови роботи (граничні значення не повинні з'являтися одночасно)

Тиск МПа

Температура ℃

Швидкість м/с

Середній

≤40

-30~+100

≤0,5

Гідравлічне масло, мінерали, емульсії та ін.


Вибір матеріалу: поліуретан (PU)


Приклад замовлення

Модель замовлення RCUPD63x48x10 Діаметр циліндра x Діаметр канавки x Висота ущільнення

Екструзійний зазор

Тиск МПа

Екструзійний зазор Smax

Діаметр циліндра D≤60 мм

Діаметр циліндра D>60 мм

≤5

0.4

0.5

≤10

0.3

0.5

≤20

0.2

0.3

≤30

0.15

0.2

≤40

0.1

0.15


Гарячі теги: Преміальна U-подібна манжета одноразової дії
Надіслати запит
Контактна інформація
Отримайте конкурентні ціни, технічну підтримку та швидкі відповіді. Надішліть свої технічні характеристики на Ruichen для індивідуальних ущільнювальних рішень. Безкоштовні зразки.
X
Ми використовуємо файли cookie, щоб запропонувати вам кращий досвід перегляду, аналізувати трафік сайту та персоналізувати вміст. Використовуючи цей сайт, ви погоджуєтеся на використання файлів cookie. Політика конфіденційності
Відхиляти прийняти