Підпірне кільце використовується спільно з ущільнювальним кільцем або зірковим кільцем, щоб запобігти вичавленню герметичного кільця в зазор на стороні низького тиску під дією тиску. По мірі того, як тиск продовжує збільшуватися, герметичне кільце пошкоджено "екструзією" і врешті -решт не вдається ущільнювати. Якщо використовується утримувальне кільце, можна запобігти "екструзії" герметичного кільця. Тому утримувальне кільце - це доповнення до ущільнювального кільця. Це не сама пломба, але це збільшує діапазон робочого тиску герметичного кільця.
Кільце для утримання використовується спільно з ущільнювальним кільцем, щоб запобігти йому "екструзії", ефективно захистити ущільнювальне кільце, збільшити термін служби його обслуговування та дозволити більший ущільнювач, тим самим зменшуючи витрати на обробку.
Особливості та додатки продукту:
Форма для утримання кільця та тип структури
Технічні дані
Робочий тиск: Статичне ущільнення може досягати приблизно 200 мПа (залежно від матеріалу та типу ущільнення утримувального кільця), зворотно -поступальне ущільнення може досягати приблизно 40 мпА. Обертання гойдалки/повільної швидкості може досягати близько 15 мпА.
Швидкість: зворотно -поступання та обертання можуть досягати приблизно 2 м/с (залежно від матеріалу).
Замовлення стандартів
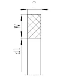
(1) Кільця, що зберігаються серії T01, складаються з внутрішнього діаметра D1, ширини W і товщини Т.
Приклад: T01-00356 D1: 3,56*W: 1,35*T: 1,23
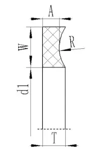
(2) Кільця, що зберігають серії T02, складаються з внутрішнього діаметра D1, ширини W та товщини A і T.
Приклад: T02-027 D1: 33,78*W: 1,35*A: 1,14*T: 1,24



Адреса
No.1 Ruichen Road, Dongliuting Industrial Park, Chengyang District, Qingdao City, Shandong Province, China
Тел
Електронна пошта