|
Тиск/МПа |
Температура / °C |
Швидкість /м/с |
Середній |
|
≤40 |
-35~+100 (з відповідними ущільнювальними кільцями NBR) |
≤2 |
Гідравлічне масло, емульсія, вода, газ тощо. |
-20~+200 (з відповідними ущільнювальними кільцями FKM) |
1. Відповідні матеріали ущільнювального кільця включають: R01 нітрил-бутадієн-каучук (NBR), R02 фторкаучук (FKM) тощо.
2. Матеріали ущільнювального кільця: стандартні матеріали PTFE3 і PTFE4; інші додаткові матеріали включають PTFE1, PTFE2 і PTFE5.
Компанія Ruichen проводить незалежні дослідження, розробки та виробництво з самого початку виробництва сировини, контролюючи весь ланцюг продуктів.
1. Інженерні пластики та композитні матеріали: ми беремо політетрафторетилен (PTFE) як основу, від змішування, спікання до формування, самостійного виробництва всіх видів труб і стрижнів із наповненими модифікованими композитними матеріалами, а потім точної обробки в ущільнення. Це забезпечує стабільність і можливість налаштування властивостей матеріалу.
2. Високоефективний поліуретановий еластомер: ми починаємо з преполімерного лиття, самостійно виробляємо високоякісні поліуретанові матеріали для труб і стрижнів і переробляємо їх у різні типи ущільнень, які мають видатну зносостійкість, стійкість до тиску та стійкість до гідролізу.
Приклад замовлення
Модель замовлення RC2054—80×69×4.2—PTFE3—R01 Модель-D*d*L- Код матеріалу Модель замовлення RCX18—80×69x4.2—HPU Модель-D*d*L- Код матеріалу
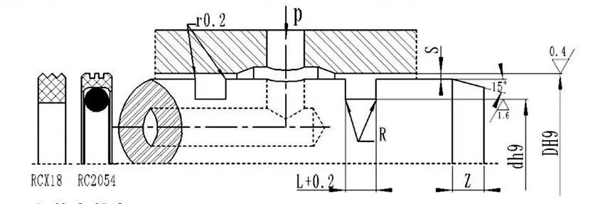
Таблиця специфікацій і параметрів (доступна будь-яка специфікація в діапазоні параметрів)
|
Діапазон діафрагми DH9 |
Діаметр траншеї dh9 |
Ширина траншеї L+0,2 |
Радіальний зазор Smax |
Заокруглені кути Rmax |
Фаска Змін |
|
|
0~10 МПа |
10~20 МПа |
|||||
|
8~39 |
D-4.9 |
2.2 |
0.15 |
0.1 |
0.4 |
2 |
|
40~79 |
Д-7,5 |
3.2 |
0.2 |
0.15 |
0.6 |
3 |
|
80~132 |
Д-11,0 |
4.2 |
0.25 |
0.2 |
1.0 |
4 |
|
133~329 |
Д-15.5 |
6.3 |
0.3 |
0.25 |
1.3 |
5 |
|
330~669 |
Д-21,0 |
8.1 |
0.3 |
0.25 |
1.8 |
7 |
|
670~1500 |
Д-28,0 |
9.5 |
0.45 |
0.3 |
2.0 |
8 |
|
D |
d |
L |
D |
d |
L |
D |
d |
L |
D |
d |
L |
|
8 |
3.1 |
2.2 |
50 |
42.5 |
3.2 |
170 |
154.5 |
6.3 |
380 |
359.0 |
8.1 |
|
10 |
5.1 |
2.2 |
55 |
47.5 |
3.2 |
180 |
164.5 |
6.3 |
390 |
369.0 |
8.1 |
|
12 |
7.1 |
2.2 |
60 |
52.5 |
3.2 |
190 |
174.5 |
6.3 |
400 |
379.0 |
8.1 |
|
14 |
9.1 |
2.2 |
63 |
55.5 |
3.2 |
200 |
184.5 |
6.3 |
420 |
399.0 |
8.1 |
|
15 |
10.1 |
2.2 |
65 |
57.5 |
3.2 |
210 |
194.5 |
6.3 |
450 |
429.0 |
8.1 |
|
16 |
11.1 |
2.2 |
70 |
62.5 |
3.2 |
220 |
204.5 |
6.3 |
480 |
459.0 |
8.1 |
|
18 |
13.1 |
2.2 |
75 |
67.5 |
3.2 |
230 |
214.5 |
6.3 |
500 |
479.0 |
8.1 |
|
20 |
15.1 |
2.2 |
80 |
69.0 |
4.2 |
240 |
224.5 |
6.3 |
520 |
499.0 |
8.1 |
|
22 |
17.1 |
2.2 |
85 |
74.0 |
4.2 |
250 |
234.5 |
6.3 |
550 |
529.0 |
8.1 |
|
24 |
19.1 |
2.2 |
90 |
79.0 |
4.2 |
260 |
244.5 |
6.3 |
600 |
579.0 |
8.1 |
|
25 |
20.1 |
2.2 |
95 |
84.0 |
4.2 |
270 |
254.5 |
6.3 |
630 |
609.0 |
8.1 |
|
28 |
23.1 |
2.2 |
100 |
89.0 |
4.2 |
280 |
264.5 |
6.3 |
650 |
629.0 |
8.1 |
|
30 |
25.1 |
2.2 |
105 |
94.0 |
4.2 |
290 |
274.5 |
6.3 |
670 |
642.0 |
9.5 |
|
32 |
27.1 |
2.2 |
110 |
99.0 |
4.2 |
300 |
284.5 |
6.3 |
700 |
672.0 |
9.5 |
|
35 |
30.1 |
2.2 |
115 |
104.0 |
4.2 |
310 |
294.5 |
6.3 |
750 |
722.0 |
9.5 |
|
36 |
31.1 |
2.2 |
120 |
109.0 |
4.2 |
320 |
304.5 |
6.3 |
800 |
772.0 |
9.5 |
|
38 |
33.1 |
2.2 |
125 |
114.0 |
4.2 |
330 |
309.0 |
8.1 |
1000 |
972.0 |
9.5 |
|
40 |
32.5 |
3.2 |
130 |
119.0 |
4.2 |
340 |
319.0 |
8.1 |
|
|
|
|
42 |
34.5 |
3.2 |
140 |
124.5 |
6.3 |
350 |
329.0 |
8.1 |
|
|
|
|
45 |
37.5 |
3.2 |
150 |
134.5 |
6.3 |
360 |
339.0 |
8.1 |
|
|
|
|
48 |
40.5 |
3.2 |
160 |
144.5 |
6.3 |
370 |
349.0 |
8.1 |
|
|
|
Примітка. Необхідні специфікації тут не вказані; будь ласка, зв'яжіться з нашою компанією. Ми пропонуємо вироби з максимальним діаметром 2800 мм.



Адреса
No.1 Ruichen Road, Dongliuting Industrial Park, Chengyang District, Qingdao City, Shandong Province, China
Тел
Електронна пошта